発明の名称:インターロッキング式ブロック
出願番号:特許出願平7-255445 出願日:1995年(平7)7月11日
公開番号:特許公開平9-25638 公開日:1997年(平9)1月28日
拒絶査定:発送日(1998年(平11)12月22日)
出願人:馬田 一博 発明者:馬田 一博
インターロッキングブロックの、インターロックを強化し、ブロックの関節挙動特性耐力(せん断強度,ねばり)を向上させ、多目的使用できるインターロッキングブロックを提供します。
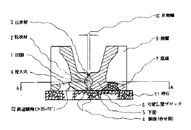
ブロックの側面4に凹面1を設け、凹面1で囲まれた流線形状の空間を、ブロックと他のブロックとで構成します。
その空間に粒状材2を詰めます。さらに、底板7に投入穴9を設け、その投入穴9に粒状材を詰めます。
凹面1は、応力集中が緩和できるように、曲線又は直線と曲線とで構成し、曲線と直線の接続する部分は、適当な円弧を入れて、すべらかに接続します。
以上のように、凹面と投入穴とで構成された空間に粒状材料を詰めて、インターロッキングを強化し、かつ、粒状材料の流出を最小限にします。
